本公司已設置職業安全衛生委員會,每三個月召開一次委員會議,114 年度已召開四次會議,報告或討論相關職安衛議題,公司治理組織架構亦設有職業安全衛生部,其相關執掌係由領有證照資格之編制人員據以執行職業安全事務;在職安相關人員編制,有甲種職業安全衛生業務主管 3 員、甲級職業衛生管理師 1 員、乙級職業安全衛生管理員 1 員、丙種職業安全衛生業務主管 1 人、勞工健康服務護理人員(專職護理師)1 員、防火管理人 4 員(倉儲中心 2 員、總公司 2 員)及 符合急救資格人員 11 員(倉儲中心 3 員、總公司 8 員),另倉儲中心具有符合危險貨物訓練課程(IATA)1 員及一公噸以上堆高機操作人員 2 員,執行相關日常職業安全衛生業務及公務,藉以提供員工同仁安全職場環境。
由職業安全衛生部擬訂、規劃、督導推動職業安全衛生管理計畫及相關環保及安全衛生管理事項,並指導有關部門實施;由職業安全衛生委員會,對擬訂之職業安全衛生管理計畫提出建議,並審議、協調、建議安全衛生相關事項;
公司視安全的工作環境為第一優先考量,職場零職災為每年優先目標,為能將 ISO 品質及環境系統標準的管理方法應用在職業安全衛生管理,透過危害鑑別與風險分析,預防事故的發生,進而降低企業成本與運作風險,達到企業永續經營之目的。ISO45001-2018 職安衛管理系統已於 113 年 1 月 11 日由亞瑞仕國際驗證股份有限公司完成首次外部驗證,並取得證書。第一次 ISO45001-2018 驗證續評因有新增組職範疇(桃園厚生倉儲中心),所以於 113 年 11 月 5-7 日完成亞瑞仕國際驗證股份有限公司的重新驗證(原驗證地點:台北總公司、台北潭美倉儲中心;增加驗證地點:桃園厚生倉儲中心),並於 113 年 11 月 21 日取得 ISO45001-2018 換發證書。114 年度已於 12 月 1-3 日完成第二次驗證續評,將於明年度重新換證,並持續精進及提升職業安全衛生管系統。(證書編號:ARES/TW/I2402011S 證書有效日期至:116 年 2 月 5 日)。
冀望藉由職業安全衛生管理系統推動與建立,以落實『遵循法令』、『危害預防』、『能力認知』、『持續改善』及『全員參與』的職業安全衛生政策。
| 114 年職業安全衛生委員會 | |
|---|---|
| 委員會成員: | 114 年職業安全衛生委員會成員人數共 12 人(含 4 位勞工代表): 雇主(總經理)(1 人)、財務長(1 人)、甲種職業安全衛生管理主管(1 人)、甲級職業衛生管理師(1 人)、乙級職業安全衛生管理員(1 人)、產品應用處主管(1 人)、人力資源室主管(1 人)、護理師(1 人)、勞方代表(4 人)。 |
| 委員會權責: | 研議、協調及建議職業安全衛生有關事務,每三個月至少開會一次,辦理下列事項應置備紀錄,並保存三年。 |
依照職業安全衛生法規定,若本公司工作場所有立即發生危險之虞時,雇主或工作場所負責人應即令停止作業,並使勞工退避至安全場所;勞工執行職務發現有立即發生危險之虞時,得在不危及其他工作者安全情形下,自行停止作業及退避至安全場所,並立即向直屬主管報告;雇主不得對前項勞工予以解僱、調職、不給付停止作業期間工資或其他不利之處分。

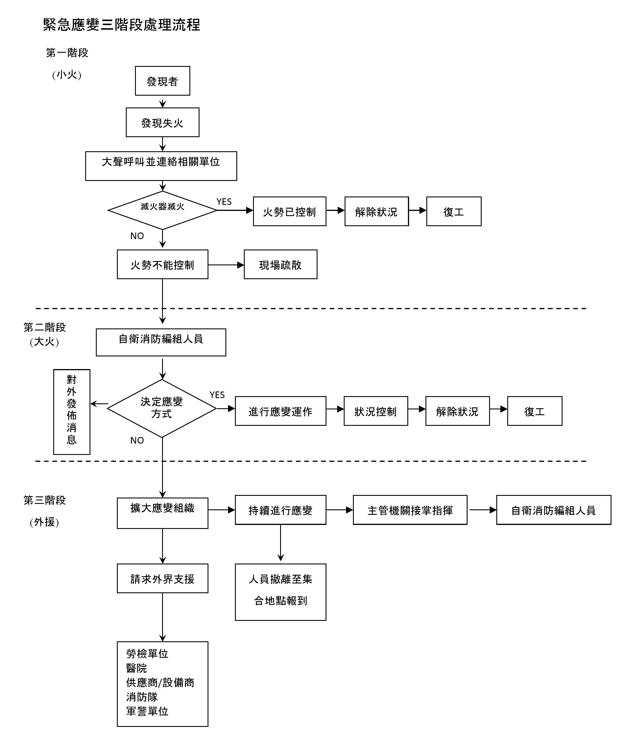
公司設有防火管理人員,以提升員工職場環境安全觀念。且依威健職業安全衛生工作守則定期辦理安全衛生、消防等相關教育訓練,採取必要之預防措施以防止職業災害發生,進而降低工作環境之危險因素。
114 年對新進人員實施一般安全衛生教育訓練,內容包含 1、作業安全衛生有關法規概要。2、職業安全衛生概念及安全衛生工作守則。3、作業前、中、後之自動檢查。4、標準作業程序。5、緊急事件應變處理。6、消防及急救常識暨演練。7、其他與勞工作業有關之安全衛生知識。參加人數共 32 人(男性 17 人、女性 15 人),受訓時數共 96 人次小時。
另外,本公司參加大樓管理中心所舉行之消防演練,於 114 年 4 月 16 日完成演練,受訓人數共 20 人,時數共 2 小時,以及於 114 年 7 月 18 日,由本公司自行舉辦全體員工消防逃生演練含補課達成率 100%,時數共 1 小時,演練內容包含滅火器使用、通報及疏散等內容,加強同仁疏散時之逃生觀念,降低員工因事故衍生災害之風險。
本公司就消防部分每年依部門需求添加滅火器、加強逃生路線圖及各據點皆配置法定消防管理人員(防火管理人)每三年定期回訓不僅能夠更新他們的專業知識,還能加強他們對於最新防火技術和法規的理解,落實防火區劃及消防系統/設備維護管理,並定期每年舉辦兩次的自衛編組訓練與演練來降低火災帶來的衝擊及危害,以及每年一次的消防安檢、每兩年一次的公共建築物檢查,透過各項檢查來維護場所的消防設備正常運作及保障員工的生命財產安全及健康。
對於本公司的辦公場所,最主要為人因性危害,長時間使用顯示屏幕設備可造成視覺疲勞、久坐上肢疼痛不適、腰痠背痛及眼睛過勞等情況,因此護理師每兩個月會舉辦一次健康講座包含-營養保健、肌少症、骨質疏鬆、更年期、藥膳、養生保健、肥胖、心血管預防、中高齡及高齡等,每兩個月醫師臨場服務一次,每年優於法規舉辦一次巡迴健檢及豐富的健檢項目,以及於 114 年度上半年完成更換全公司的辦公座椅共計 400 張,改為較符合人體工學的辦公座椅來提升人員的效率及降低人員作業的人因性危害。

本公司為達到職場零災害之目標,促進全體員工的安全與健康,設有甲種職業安全衛生主管、甲級職業衛生管理師,乙級職業安全衛生管理員及護理師,以規劃及執行相關勞工安全衛生工作守則,且依規定每月統計並申報員工職業災害案件。
114 年本公司總計發生1件職業災害,同仁於客戶公司,遭對方油壓板車撞傷,受傷的同仁已康復並由護理師定期追蹤,以確保員工的安全及健康,為避免相同事件發生,已由職安部強化相關安全衛生教育訓練及宣導,警惕同仁以免危害再次發生。
114 年本公司有 3 位非員工工作者(潭美倉、厚生倉及新竹辦公室各 1 位),其為清潔承攬人員(從事辦公據點環境清掃),總工時為 520 小時,114 年未發生職災情事。
威健新進員工應施行體格檢查,在職員工則應施行一般健康檢查。本公司每年進行一次員工健康檢查,健檢項目除基礎項目外,另增加眼壓測定 I.O.P. 、高解晰度眼底鏡、腹部超音波檢查、心肌酵素檢查、腫瘤指標篩檢、糞便潛血檢查等項目,提供員工更完善的檢查計畫。114 年指定信義101健康管理診所(現更名為信義健康管理診所)進行員工年度健康檢查,威健員工一般健康檢查共 452 人(不含海外派駐人員),員工參與檢查率 95.97%(不含派駐海外同仁),未參加之同仁係已自行安排定期健康檢查或因無法配合公司此次健康檢查時間,健康檢查支出費用共 757,000 元,無職業病情事發生。
此外,本公司與國泰醫院簽署醫師駐場諮詢服務,每兩個月駐場一次,提供健康諮詢服務三小時,讓同仁了解自己身心狀況,對自己也對公司作出貢獻,並由專職護理師做後續追蹤與評估。114 年共執行 6 次 18 小時健康諮詢服務。
| 員工健康保護四大計畫 & 中高齡及高齡者適性工作計畫 | |
|---|---|
| 人因性危害預防計畫 | 異常工作負荷促發疾病預防執行計畫 |
| 本計畫的目的在於維護本公司勞工的健康福祉,預防人因性危害及避免重複性肌肉骨骼傷病。經職業安全衛生部決議並經總經理核准,特定此計畫公告全體勞工週知,共同推動,以達成降低本公司勞工重複性肌肉骨骼傷病發機率及頻率之目標。 | 本公司於年度健檢以醫院問卷調查蒐集工作者過勞量表、工時、工作型態等資料,並透過健康檢查結果,辨識及評估可能促發疾病之高風險群,114 年度篩選出中度風險族群 - 產品應用處、 電子零件事業處及業務支援部,徵詢同意者由醫師面談評估,進以改善異常工作負荷疾病促發。 |
| 執行職務不法侵害預防計畫 | 母性健康保護計畫 |
| 自 108 年起依據職業安全衛生法規推動「不法侵害預防計畫」,並於 114 年隨政府最新「執行職務遭受不法侵害預防指引第四版」修改計畫,落實危害辨識與評估、教育訓練、事件處理程序、成效評估與改善等措施,並新增潛在不法侵害行為樣態表,作為本公司執行預防之參考。 | 109 年起依據職業安全衛生法規相關規定制定母性健康保護計畫,對從事有母性健康危害之虞之工作者(以下簡稱保護對象),規劃及採取必要之安全措施,確保母體與胎兒、嬰兒之健康。 |
| 中高齡及高齡者適性工作計畫 | |
| 本公司依據勞動部職業安全衛生署訂定之「中高齡及高齡工作者安全衛生指引」,除確保中高齡及高齡工作者安全及健康外,亦提升中高齡者勞動參與,維護中高齡者及高齡者就業權益,建構友善就業環境,並促進其人力資源之運用,特於 114 年起制定並實施本計畫。 | |
護理師不定期舉行健康促進相關之健康宣導,藉由提升員工有關易發生疾病之相關健康常識及其預防方式來辨識其職場上易發生之危害,並透過正確之健康相關知識降低發生危害之風險。114 年共舉行 11 場健康講座,參與人數為 584 人次(男性 168 人次、女性 416 人次),時數共 15 小時。
| 114 年健康講座 | ||||||
|---|---|---|---|---|---|---|
| 根據 114 年健檢結果分析及同仁有興趣的健康主題,並考量同仁平均年齡為中高齡,以心血管保健、人因預防、運動保健、健康飲食、心理健康及中高齡保健為主,並分別與外部資源合作邀請各界專業人士進行專題演講,增進同仁健康知識及概念。 | ||||||
| 日期 | 時數 (小時) |
內容 | 授課單位 | 參加人次 | ||
| 男性 | 女性 | 合計 | ||||
| 114/01/16 | 2 | 退休生活準備 | 老玩客股份有限公司 | 17 | 40 | 57 |
| 114/02/12 | 1.5 | 從飲食出發:守護肌肉、骨骼與更年期健康 | Vivian 李芷薇營養師 | 25 | 58 | 83 |
| 114/03/06 | 1.5 | 114年毒品危害防制暨用藥安全宣導講座與指示藥品說明 | 臺北市立聯合醫院與職業衛生安全部 | 16 | 45 | 61 |
| 114/05/22 | 1 | 拯救疲勞眼祝您好眼力 | 臺北市內湖區健康服務中心 | 20 | 40 | 60 |
| 114/06/27 | 1 | 失智友善職場講座 | 台灣失智症協會 | 18 | 35 | 53 |
| 114/07/10 | 1.5 | 職場人際關係與溝通技巧 | 台北市政府衛生局社區心理衛生中心 | 25 | 43 | 68 |
| 114/08/28 | 1 | 日常活動運動與訓練 | 沛力訓練有限公司 | 9 | 12 | 21 |
| 114/09/11 | 1 | 健康升級不靠意志力:找到屬於你的進步公式 | 習慣健康國際股份有限公司 | 9 | 29 | 38 |
| 114/09/25 | 1.5 | 現代文明病的預防保健 | 劉婷妮 營養師 | 18 | 39 | 57 |
| 114/10/23 | 1.5 | 急救技能宣導活動(CPR+AED+哈姆立克法,一次學會!) | 臺北市政府消防局 | 4 | 21 | 25 |
| 114/12/11 | 1.5 | 守護女性健康(常見危害預防、早期發現) | 官彧 營養師 | 7 | 54 | 61 |
| 合計 | 15 | 168 | 416 | 584 | ||
114 年度本公司為防治員工肥胖及三高等慢性疾病,除每年進行員工健康檢查外,並舉辦健康講座、實施體能健康續航力賽事(包含養成量測血壓等好習慣) 、購置量測器材供同仁使用及鼓勵員工參與運動型社團等。
1. 健檢統計
| 年度 | 健檢人數 (包括自行前往健檢中心之同仁) |
已成為代謝症候群人數 | 已成為代謝症候群比例 | 代謝症候群高風險人數 | 代謝症候群高風險比例 |
|---|---|---|---|---|---|
| 112 年 | 440 | 65 | 14.8% | 207 | 47.0% |
| 113 年 | 428 | 83 | 19.4% | 181 | 42.3% |
| 114 年 | 466 | 77 | 16.5% | 202 | 43.3% |
附註:
(1)腹部肥胖:男性的腰圍 ≧ 90cm(35 吋)、女性腰圍 ≧ 80cm(31 吋)。
(2)血壓偏高:收縮壓 ≧ 130mmHg 或舒張壓 ≧ 85mmHg,或是服用醫師處方高血壓治療藥物。
(3)空腹 血糖偏高:空腹血糖值 ≧ 100mg/dL,或是服用醫師處方治療糖尿病藥物。
(4)空腹三酸甘油酯 偏高:≧ 150mg/dL,或是服用醫師處方降三酸甘油酯藥物。
(5)高密度脂蛋白膽固醇偏低:男性 < 40mg/dL、女性 < 50mg/dL。
透過健康檢查追蹤公司同仁肥胖及三高之統計數據,針對三高族群、代謝症候群(符合附註三項指標)以及其高危險群(符合附註一至二項之指標)由職業安全衛生部護理師發出電子郵件提醒,並安排國泰醫院每兩個月派駐到公司的醫師進行專業諮詢及建議。
2. 健康講座
推動防治員工肥胖及三高,本公司職業安全衛生部 114 年度已執行健康講座,其資訊如下:
| 日期 | 時數 (小時) |
內容 | 授課單位 | 參加人次 | ||
|---|---|---|---|---|---|---|
| 男性 | 女性 | 合計 | ||||
| 114/08/28 | 1 | 日常活動運動與訓練 | 沛力訓練有限公司 | 9 | 12 | 21 |
| 114/09/11 | 1 | 健康升級不靠意志力:找到屬於你的進步公式 | 習慣健康國際股份有限公司 | 9 | 29 | 38 |
| 114/09/25 | 1.5 | 現代文明病的預防保健 | 劉婷妮 營養師 | 18 | 39 | 57 |
| 合計 | 3.5 | 36 | 80 | 116 | ||
3. 實施體能健康續航力賽事
為了響應 ESG-Social 之員工福利以及聯合國 SDGs 的“健康與福祉”和“優質工作及經濟成長”兩大指標,並且促進員工健康及培養定期量測血壓與體重的習慣,永續發展執行辦公室自 114 年 6 月起舉辦『2025 威健體能健康續航力–戶外健身,走出健康』活動,活動為期 3 個月。活動項目包括體能訓練課程、戶外健走活動、健走仗練習課程、InBody 量測,並使用 App 進行血壓紀錄、體重紀錄及線上健走記步等功能,額外採購8台血壓計以及體重體脂計供同仁使用,期許降低同仁三高風險,讓同仁藉此機會在工作與健康兩者中尋得最佳平衡,全面性推廣運動以及定期量測習慣。
114 年賽事期末有測量結果顯示,同仁平均體重、體脂率及腰臀圍比較 113 年賽事期末測量結果皆有正向進展,數據成效如下表:
賽事 Inbody 數據分析
| 113 年參加期末量測者(共 156 人) | ||||
|---|---|---|---|---|
| 項目 | 體重(kg) | 體脂率 | 肌肉率 | 腰臀圍比 |
| 期末總數 | 10215.7 | 4573.2 | 60.36 | 134.30 |
| 期末平均 | 65.49 | 29.32 | 0.39 | 0.86 |
| 114 年參加期末量測者(共 112人) | ||||
| 項目 | 體重(kg) | 體脂率 | 肌肉率 | 腰臀圍比 |
| 期末總數 | 7231.1 | 3198.1 | 43.954 | 95.58 |
| 期末平均 | 64.56 | 28.55 | 0.39 | 0.85 |
| 113 年及 114 年期末量測平均差異 | ||||
| 項目 | 體重(kg) | 體脂率 | 肌肉率 | 腰臀圍比 |
| 總數差異 | -2984.6 | -1375.1 | -16.406 | -38.72 |
| 平均差異 | -0.93 | -0.77 | 0.00 | -0.01 |
4. 鼓勵員工參與運動社團
為培養同仁肌力、有氧及運動習慣,公司之職工福利委員會每月補助運動型社團,以維持社團之運作,如下:
| 社團 | 參加人數 | 活動頻率與時數 |
|---|---|---|
| 動能社 | 20 | 每週 2 次,1.5 小時 |
| 桌球社 | 15 | 每週 1 次,2.0 小時 |
| 羽球社 | 17 | 每週 1 次,2 小時 |
| 戶外休閒活動社 (三鐵運動為主) | 18 | 每月 1 次,2 ~ 4 小時 (每週社員維持自行練習) |
| 登山社 | 15 | 每月 1 次,4 ~ 6小時 |